Fendt-5220 часть2fendt-5220-chast2
Поиск деталей
Например: Grain Tank
80 Grain Tank and fairings90 Guards100 Driver'S Platform110 Hydraulic system120 Electric System130 Tools and Decal140 Variations And Accessories

Platform Support

Platform Support

Driver'S Platform

Driver'S Platform

Ladder Footboard Up To 551510026

Ladder Footboard From Serial Number 551510027

Ladder Footboard From Serial Number 551510027

Ladder Footboard Up To 551510026

Ladder Footboard From Serial Number 551510027

Platform Footboards Left Side

Platform Footboards Right Side

Cab Main Seat

Cab Installation

Cab Installation

Cab Installation

Cab Climatized Cab

Cab Climatized Cab

Cab Roof

Cab Left Door

Cab Right Door

Cab Framing

Cab Framing

Cab Under Roof

Cab Headlight

Cab Headlight

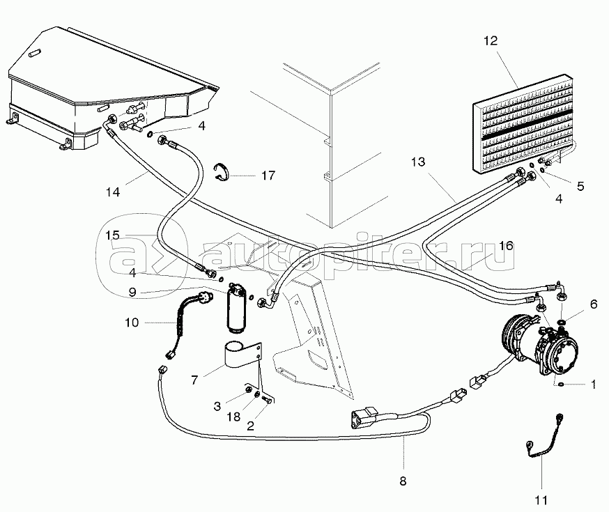
Cab Air Conditioner

Cab Air Conditioner

Cab Air Conditioner

Cab Air Conditioner

Cab Rear View Mirrors

Ladder Footboard Extention Up To 551510026

Ladder Footboard Extention From Serial Number 551510027

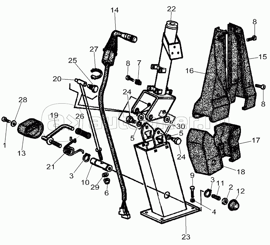
Cab Steering Column

Cab Steering Column

Concave Control Drive