Single Disc Drillsingle-disc-drill
Поиск деталей
Например: FRONT HITCH ASSEMBLY
Амити Single Disc Drill

FRONT HITCH ASSEMBLY

TOOLBAR ASSEMBLY - 30'

TOOLBAR ASSEMBLY 40'

TOOLBAR ASSEMBLY - 50'

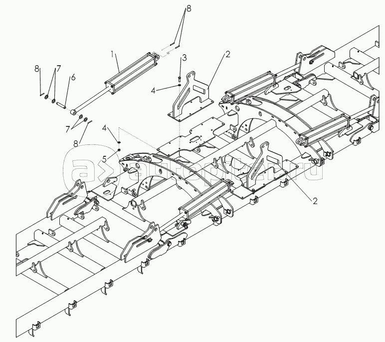
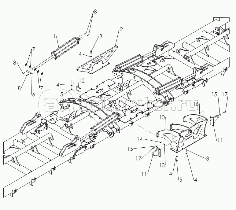
REAR TOOLBAR ASSEMBLY №35134 AND №35135

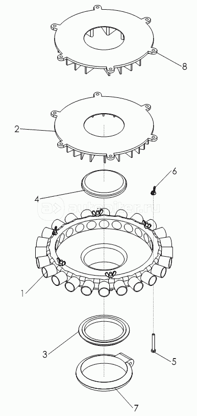
HUB AND SPINDLE ASSY №243985

TOOLBAR LOCKDOWN ASSEMBLY

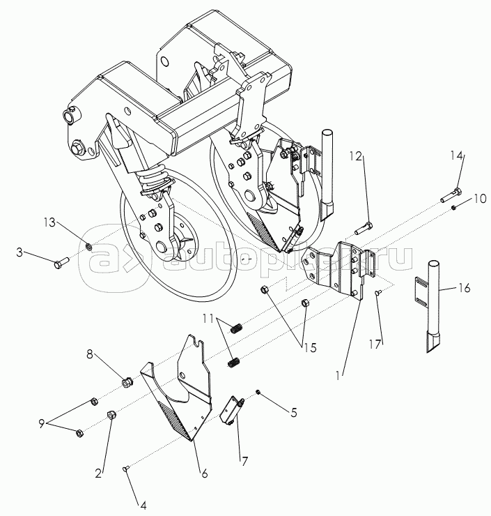
OPENER ASSEMBLY

HUB ASSEMBLY №34574

LIFT WHEEL ASSEMBLY 30'

LIFT WHEEL ASSEMBLY 40'

LIFT WHEEL ASSEMBLY 50' AND 60'

WING LIFT ASSEMBLY-30' AND 40' FRH

WING LIFT ASSEMBLY - 40' HLA

WING LIFT ASSEMBLY 50' AND 60'

FLOATING REAR HITCH ASSEMBLY

HUB AND SPINDLE ASSEMBLY №52116

LIFT ASSIST ASSEMBLY

HUB AND SPINDLE ASSEMBLY №35519

LIFT ASSIST HYDRAULICS 50' AND 60'

WING LIFT HYDRAULICS-FLOATING REAR HITCH

WING LIFT HYDRAULICS-LIFT ASSIST 40'

WING LIFT HYDRAULICS 50' AND 60'

DEPTH CONTROL ASSEMBLY 30'

DEPTH CONTROL ASSEMBLY 40'

DEPTH CONTROL ASSEMBLY 50' AND 60'

DOWN PRESSURE HYDRAULICS 30' FRH

DOWN PRESSURE HYDRAULICS 40' FRH

DOWN PRESSURE HYDRAULICS HLA

DOWN PRESSURE HYDRAULICS

TANK TO TRACTOR HYDRAULICS

TOOLBAR ELECTRONICS

NH3 OPTIONAL

SAFETY LIGHTS - FLOATING REAR HITCH

SAFETY LIGHTS - LIFT ASSIST

SINGLE MANIFOLD 6-ZONE 30',DUAL MANIFOLD 6-ZONE 30' (OPTIONAL)

SINGLE MANIFOLD 2-ZONE 30',DUAL MANIFOLD 2-ZONE 30'

SINGLE MANIFOLD - 4 ZONE 40',DUAL MANIFOLD - 4 ZONE 40' (OPTIONAL)

SINGLE MANIFOLD 8-ZONE 40',DUAL MANIFOLD 8-ZONE 40' (OPTIONAL)

SINGLE MANIFOLD 50' AND 60' - 4 ZONE,DUAL MANIFOLD 50' AND 60' - 4 ZONE (OPTIONAL)

SINGLE MANIFOLD 8-ZONE,DUAL MANIFOLD 8-ZONE (OPTIONAL)

MANIFOLD ASSEMBLY №36374

MANIFOLD COMPONENTS - MAIN SPLITTER - 5"

MANIFOLD COMPONENTS - MAIN SPLITTER - 6"

MANIFOLD BLOCKAGE OPTIONS

FERTILIZER BANDER ASSEMBLY

FERTILIZER BANDER NH3 AND DRY OPTION

FERTILIZER BANDER DRY TUBE OPTION

REAR TOOLBAR SOYBEAN (OPTIONAL)

MANIFOLD ASSEMBLY №36375

MANIFOLD ASSEMLBY №320294