МТТ-4Уmtt-4u
Поиск деталей
Машина для внесения минеральных удобрений МТТ-4У

Машина для внесения минеральных удобрений МТТ-4У

Трансмиссия

Вал привода разбрасывателя

Натяжное устройство

Вал в сборе

Вал передний

Вал задний с муфтой

Редуктор

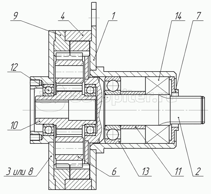
Вал в сборе

Механизм дозирующий

Транспортёр

Тарелка

Редуктор привода тарелки

Передача цепная

Вал раздаточный

Мост с колёсами

Система тормозная

Перечень подшипников и манжет