ПРТ-7Аprt-7a
Поиск деталей
Машина для внесения твердых органических удобрений ПРТ-7А (МТТ-9)

Машина для внесения твердых органических удобрений ПРТ-7А (МТТ-9)

Трансмиссия (ПРТ-7А.06.00.000) - вид сверху

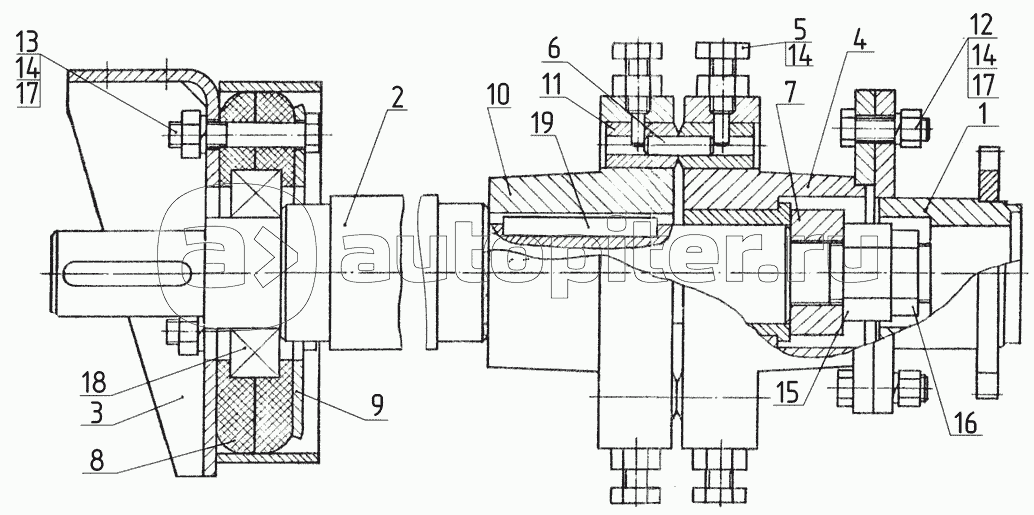
Вал передний (ПРТ-7А.06.01.000)

Вал задний с муфтой (ПРТ-7А.06.02.000)

Разбрасыватель (ПРТ-7А.07.00.000)

Вал привода битеров (ПРТ-7А.07.08.000)

Барабан нижний (ПРТ-7А.07.15.000)

Барабан верхний (ПРТ-7А.07.18.000)

Цепи с планками (ПРТ-7А.16.01.000)