ПСТ-9pst-9
Поиск деталей
Например: Полуприцеп самосвальный тракторный ПСТ-9
Полуприцеп самосвальный тракторный ПСТ-9

Полуприцеп самосвальный тракторный ПСТ-9

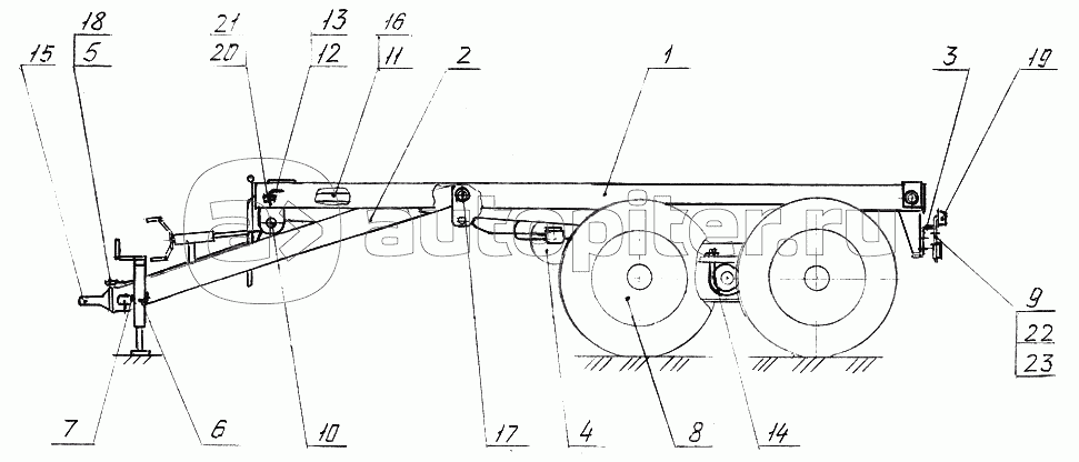
Шасси (ПСТ-9.01.00.000)

Шасси (ПСТ-9.12.00.000)

Система тормозная (ПСТ-9.01.04.000)

Система тормозная (ПСТ-9.12.04.000)

Опора регулируемая (ПСТ-9.01.11.000)

Тележка балансирная (086 СХ 12,8-06.000-01)

Тележка (ПСТ-9.12.13.000)

Балансир со ступицей (086СХ 12,8-06.010, 086СХ 12,8-06.010-01)

Ось с колесами (ПСТ-9.12.13.080)

Колесо с шиной (086СХ 12,8-06.020)

Ступица с барабаном (Н 129.00.010)

Колодка с накладкой (Н 129.00.030)