КПК-3000А (Палессе FH40A)kpk-3000a-palesse-fh40a
Поиск деталей
КПК-3000АИзмельчительАппарат питающийУстройство доизмельчающееСилосопроводКоробка трехскоростнаяВалРедукторВал карданныйГидросистемаЭлектрооборудование

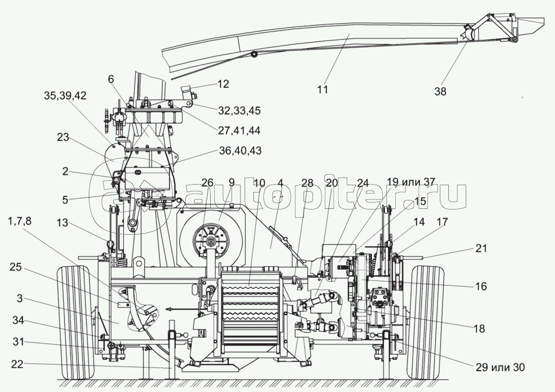
Измельчитель КПК-3000А ПКК-1-0100000 (общий вид)

Измельчитель ПКК-1-0100000 (лист 1)

Измельчитель ПКК-1-0100000 (лист 2)

Установка вала с ротором ПКК-1-0100090

Шкивы, ограждения привода ротора измельчителя

Рама измельчителя ПКК-1-0101000

Кожух верхний измельчителя ПКК-1-0103000

Кожух нижний ПКК 0102000А-01

Терка ПКК 0138000Б-01

Установка противореза ПКК 0100170-01

Противорез ПКК 0100170-01

Рама навески ПКК-1-0105000

Панель ПКК 0100030Б

Датчик положения ПКК 0152000В

Механизм копирования ПКК-1-0455000

Механизм продольного копирования ПКК 0455000-02

Колесо опорное правое ПКК 0143000-01

Колесо опорное левое ПКК 0144000-03