КВК-800 (FS80-7)kvk-800-fs80-7
Поиск деталей
Измельчитель самоходный КВС-7Аппарат питающе-измельчающийАппарат измельчающийУстройство доизмельчающееУстановка двигателяГлавный приводВентиляция и отоплениеУстановка топливного оборудованияШассиМост управляемых колесУстройство тягово-сцепноеМеханизм вывешиванияКолесаПлощадка управленияРулевое управлениеКолонка приводаКабинаГидросистемаПневмосистемаУстановка электрооборудования
/77.gif)
Установка привода вентилятора КВС-7-0150090
/78.gif)
Рычаг КВС-7-0150120
/79.gif)
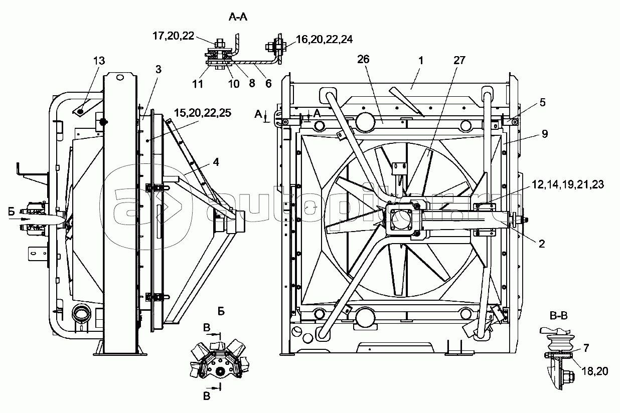
Установка блока радиаторов КВС-7-0152000 (лист 1)
/80.gif)
Установка блока радиаторов КВС-7-0152000 (лист 2)
/81.gif)
Редуктор КВС-1-0135000А-01
/82.gif)
Стакан КВС-1-0135020А-01
/83.gif)
Воздухозаборник КВС-5-0155000 (лист 1)
/84.gif)
Воздухозаборник КВС-5-0155000 (лист 2)
/85.gif)
Гидромотор воздухозаборника КВС-5-0602100
/86.gif)
Установка бачка расширительного КВС-7-0154000
/87.gif)
Установка щитков КВС-7-0156000
/88.gif)
Установка глушителя КВС-7-0157000
/89.gif)
Привод компрессора кондиционера КВС-1-0150100А
/90.gif)
Компрессор КВС-1-0150630-01
/91.gif)
Привод гидростата КВС-5-0133000А
/92.gif)
Рычаг КВС-5-0133020
/93.gif)
Насос трехсекционный КВС-2-0601200
/94.gif)
Пружина КЗС 0100650
/95.gif)
Установка аккумуляторов КВС-2-0101020