КВК-8060kvk-8060-3179
Поиск деталей
Например: Измельчитель самоходный КВК 0100000
Измельчитель самоходныйЭлектрооборудованиеМеханизм вывешиванияАппарат питающийАппарат измельчающийУстройство доизмельчающееКамера приемнаяСилосопроводУстановка двигателяШасси и трансмиссияКабинаОблицовка и оперениеГидросистемаПневмосистемаСоединение ротационноеУстановка ОВК

Гидросистема КВК-2-0600000

Бак масляный КВК-2-0600010

Фильтр КВК 0602470

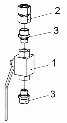
Фильтр КВК 0602480

Гидросистема привода ходовой части КВК-2-0601000 (вид сбоку)

Гидросистема привода ходовой части КВК-2-0601000 (вид сверху)

Гидросистема привода ходовой части КВК-2-0601000 (вид сзади)

Коллектор КВК-2-0601340

Гидроблок доворота вала мотора ГСТ КВК-2-0601460А

Гидроблок управления переключением передач КВК-2-0601330

Установка клапана дренажного КВК 0601660 (вид сверху)

Установка гидроблока подключения управляемого моста КВК 0601710

Гидроблок подключения управляемого моста КВК 0601500

Насос КВК-2-0601100

Гидросистема рулевого управления и силовых гидроцилиндров КВК-2-0602000 (лист 1)

Гидросистема рулевого управления и силовых гидроцилиндров КВК-2-0602000 (лист 2)

Гидросистема рулевого управления и силовых гидроцилиндров КВК-2-0602000 (лист 3)

Гидросистема рулевого управления и силовых гидроцилиндров КВК-2-0602000 (лист 4)

Гидроблок навески КВК-6-0602300

Гидроблок пятисекционный КВК-2-0602310

Клапан блока пневмогидроаккумуляторов КВК 0602330Б

Дроссель регулируемый КВК 0602340А

Блок пневмогидроаккумуляторов КВК 0602350Б

Кран КВК 0602370А

Кран КВК 0602380

Клапан предохранительный КВК 0602400А

Пневмогидроаккумулятор КВК 0602410

Полумуфты КВК 0602660 и КВК 0602660-01

Гидронасос рулевого управления КВК 0602200Б

Гидронасос КВК-2-0602100

Гидронасос КВК-2-0602110

Гидроцилиндр подъема силосопровода КВК 0602510А

Гидросистема привода питающего аппарата и адаптеров КВК-2-0604000 (лист 1)

Гидросистема привода питающего аппарата и адаптеров КВК-2-0604000 (лист 2)

Гидросистема привода питающего аппарата и адаптеров КВК-2-0604000 (лист 3)

Гидросистема привода питающего аппарата и адаптеров КВК-2-0604000 (лист 4)

Гидроблок адаптеров КВК-6-0604300

Фильтр напорный КВК-6-0604330

Муфта КВК-6-0604520

Панель диагностики КВК 0604410Б

Штекер КВК 0604530

Штекер КВК 0604550

Муфта КВК 0604560

Муфта КВК 0604570

Штекер КВК 0604580

Гидронасос привода адаптеров КВК 0604110

Гидронасос привода питающего аппарата КВК-2-0604120

Гидромотор привода адаптеров КВК 0604250

Гидромотор привода питающего аппарата КВК-6-0604200

Гидросистема привода стояночного тормоза КВК-2-0606000А (вид спереди)

Гидросистема привода стояночного тормоза КВК-2-0606000 (вид сверху)

Блок пневмогидроаккумуляторов КВК-6-0606370

Клапан зарядки пневмогидроаккумулятора КВК-2-0606380

Гидроблок стояночного тормоза КВК-2-0606340

Установка централизованной смазки КВК 0100600