КЗС-10К Палессе GS10kzs-10k-palesse-gs10-2456
Поиск деталей
Молотилка самоходнаяШассиКоробка передачМост управляемых колесУстройство тяговоеКолесаБункерЭлеватор зерновойСоломоизмельчительДвигательВентиляторКапотыКабинаПлощадка управленияГидросистемаПневмосистема
/156.gif)
Установка двигателя КЗК-10-2-0106000 (лист 1)
/157.gif)
Установка двигателя КЗК-10-2-0106000 (лист 2)
/158.gif)
Двигатель КЗК-10-2-0106010 (лист 1)
/159.gif)
Двигатель КЗК-10-2-0106010 (лист 2)
/160.gif)
Амортизатор КЗК-10-0106160 и СЭУ 0400410
/161.gif)
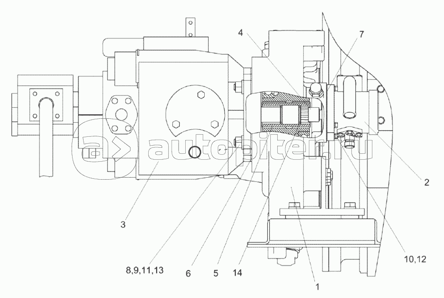
Установка гидронасосов КЗК-10-2-0106020
/162.gif)
Установка главного привода КЗК-10-2-0106030
/163.gif)
Установка главного привода КЗК-10-2-0106030-01
/164.gif)
Установка шкива КЗК-2-0114300-01 и КЗК-2-0114300-05
/165.gif)
Мультипликатор КЗК-12-0114000-01 и КЗК-12-0114000-05
/166.gif)
Насос КЗК-12-0602890
/167.gif)
Установка гидронасосов КЗК-12-0601610
/168.gif)
Насос двухсекционный КЗК-12-0601400
/169.gif)
Опора КЗК-10-2-0220090
/170.gif)
Радиаторы КЗК-10-2-0106040, КЗК-10-2-0106040-01, КЗК-10-2-0106040-02
/171.gif)
Воздухозаборник КЗК-12-3-0112000
/172.gif)
Рама КЗК-12-3-0112080
/173.gif)
Пылесъемник КЗК-12-3-0112130А
/174.gif)
Установка бачка расширительного КЗК-10-2-0106070
/175.gif)
Устройство натяжное КЗК-10-0112010
/176.gif)
Пружина КЗС 0131210
/177.gif)
Установка сливных рукавов КЗК-12-3-0106490
/178.gif)
Электрооборудование двигателя
/179.gif)
Установка глушителя КЗК-10-2-0106060
/180.gif)
Установка воздухоочистителя КЗК-10-2-0106080
/181.gif)
Привод главного контрпривода КЗК-10-1-0220000А
/182.gif)
Пружина КЗК-12-3-0220050
/183.gif)
Рычаг КЗК-12-3-0220210
/184.gif)
Ограничитель КЗК-12-3-0220260