КЗС-575kzs-575
Поиск деталей
Молотилка самоходнаяШассиБлок шнековКолесаЭлеваторДвигатель и приводыКабинаУстановка капотов и огражденияГидросистемаЭлектрооборудования молотилки

Установка зеркала КЗК 0100520

Установка кабины КЗК-5-4-0120000

Кабина КЗК-5-4-0120010 (лист 1)

Кабина КЗК-5-4-0120010 (лист 2)

Кабина КЗК-5-4-0120010 (лист 3)

Каркас КЗК-5-0120020

Дверь КЗК-5-0120210

Дверь КЗК-5-0120390

Форточка КЗК-5-0120400

Облицовка КЗК-5-0120420

Установка электрооборудования кабины КЗК-5-4-0722000

Площадка управления КЗК-5-4-0119000

Установка пульта управления КЗК-5-4-0119010

Привод подачи топлива КЗК-5-0119120

Установка электрооборудования пульта управления КЗК-5-4-0725000

Установка сиденья КЗК-5-4-0119290

Кронштейн КЗК-7-0119350А

Сиденье КЗК-5-4-0119290

Рычаг КЗК-12-0119920Б

Установка электрооборудования привода КЗК-5-4-0724000

Рычаги и трубопроводы площадки управления

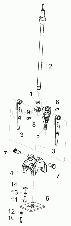
Установка колонки рулевой КЗК-5-0119030

Установка колеса рулевого КЗК-12-0122600

Колесо рулевое КЗК-12-0122300

Привод управления КЗС 0119600

Кардан 50-3401060

Установка насоса-дозатора КЗК-8-0602160

Электрооборудование колонки рулевой КЗК-5-0723000

Установка привода стояночного тормоза КЗК-5-0119040

Колонка привода УЭС 0300710

Установка тормозных бачков КЗК-5-0119050

Установка блока переключения передач КЗК-5-0119060

Установка тросов управления двигателем КЗК-5-0119070

Установка тросов управления КПП КЗК-5-0119090

Установка тормозных трубопроводов КЗК-5-0119100

Установка троса стояночного тормоза КЗК-5-0119160

Тяга КЗК 0119410

Опора КЗК 0119420А

Установка троса ГСТ КЗК-8-0119150