KЗС-812kzs-812-3080
Поиск деталей
Молотилка самоходнаяЭлектрооборудованиеКамера наклоннаяОчисткаАппарат молотильныйШассиМост ведущийРедуктор бортовойТрансмиссияМост управляемых колесВентиляторБлок шнековУстройство тяговое и прицепноеКолесаЭлеватор зерновойБункерДвигательКабинаУправлением комбайномУстановка капотов и огражденийГидросистемаПневмосистема

Аппарат молотильный КЗК-8А-0102000 (лист 1)

Аппарат молотильный КЗК-8А-0102000 (лист 2)

Маслопровод КЗК-7-0102360

Фланец КЗК-8А-0102750

Барабан молотильный КЗК-8А-0104000

Механизм подъема подбарабанья КЗК-8А-0115000

Механизм подъема подбарабанья КЗК-8А-0115000 (установка электромеханизма)

Опора КЗК 0102350

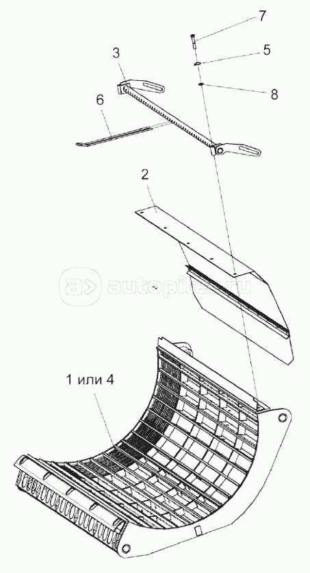
Подбарабанье КЗК 0103000-01

Подбарабанье КЗК 0103010-01

Битер отбойный КЗК 0105500

Вариатор барабана КЗК 0108100-01

Вариатор барабана КЗК 0123000

Установка привода устройства домолачивающего

Боковина левая КЗК-8А-0202050

Боковина правая КЗК-8А-0202060

Соломотряс КЗК-8А-0212000-01

Вал коленчатый ведущий КЗК-8А-0212010

Вал коленчатый ведомый КЗК 0212020А

Стяжка КЗК 0100150А

Рычаг КЗК 0202400В

Рычаг КЗК 0202410В

Рычаг КЗК 0202440В

Пружины КЗК 0202840А и КЗК 0202840А-01

Пружина КЗК 0202850А-02

Стяжка КЗК 0202990А

Устройство домолачивающее КЗК 0207000В

Элеватор колосовой КЗК 0208000А-03

Цепь элеватора КЗР 0208080Г

Муфта фрикционная КЗК 0219020Б-01

Стан решетный верхний КЗК 0260000Б-01

Доска стрясная КЗК 0280000А

Контрпривод вариатора КЗК-7-0202500Б

Тяги КЗК-8-0100560 и КЗК-10-0100560-03

Рычаг КЗР 0202160Г

Пружина КЗК 0100580А

Рычаг КЗК 0100590

Установка щитка КЗК-8-0100200