ЖЗК-7-7zhzk-7-7
Поиск деталей
ЖАТКА ДЛЯ ЗЕРНОВЫХ КУЛЬТУР ЖЗК-7-7

Жатка для зерновых культур ЖЗК-7-7 КЗР 1500000-24

Жатка для зерновых культур КЗР 1500010Б-24

Установка надставок КЗК-10-1500404А-02 и КЗК-10-1500404А-03

Установка делителей КЗР 1518100, КЗК-9-1518100 и отбойников

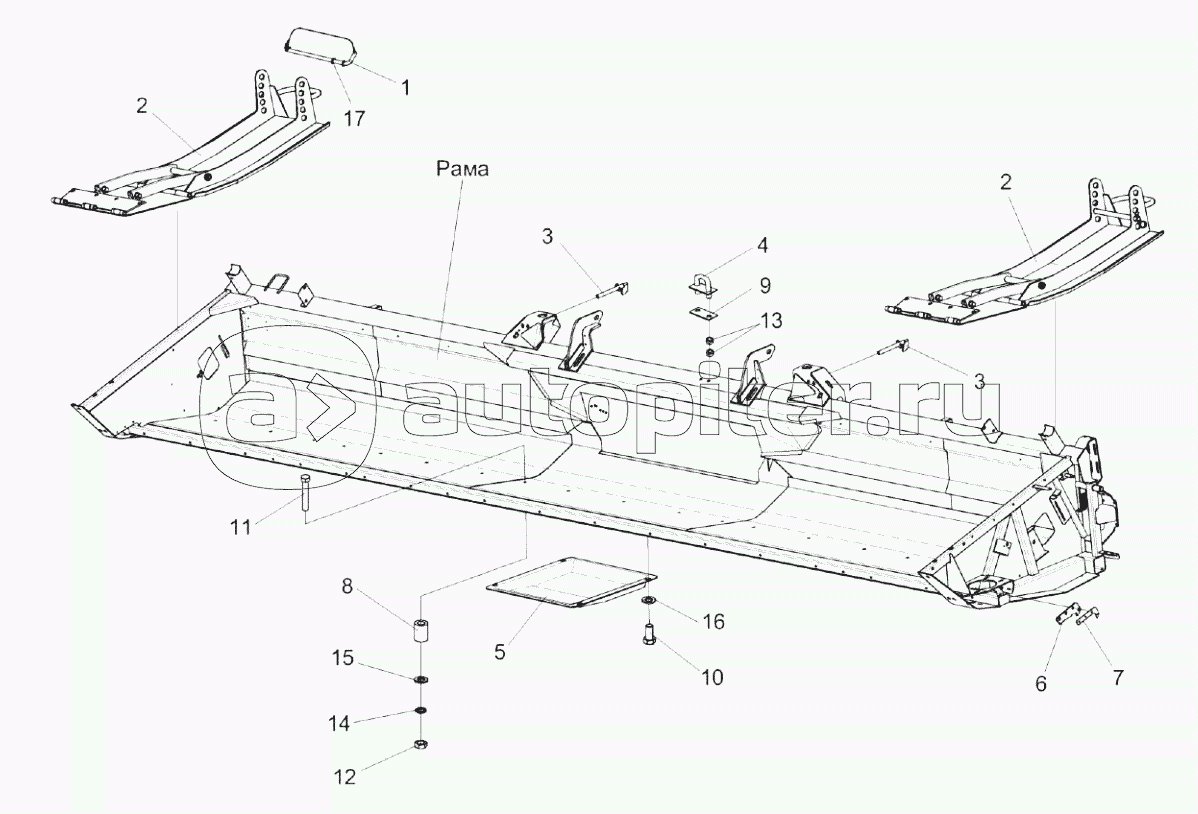
Установка башмаков КЗР 1516200 и КЗР 1500416

Башмак КЗР 1516200

Установка контрпривода КЗР 1524000В

Контрпривод КЗР 1524000В

Шкив КЗР 1524020

Установка электромеханизма КЗР 0700390-01

Электромеханизм КЗР 0700390-01

Установка вариатора КЗР 1514100А

Установка звездочки КЗР 1510020

Устройство натяжное КЗР 1512000

Установка рычага КЗР 1504200А

Муфта предохранительная КГС 0202100-02

Муфта фрикционная КЗР 1503140А

Муфта обгонная КЗР 1504100

Устройство обводное КЗР 1510000

Поддержка левая КЗК-12-1508100

Направляющая КЗР 1573080-01

Направляющая КЗК-12-1573100-01

Привод аппарата режущего

Редуктор КЗР 1517200

Стакан КЗР 1517010

Стакан КЗР 1517220

Водило КЗР 1517230

Корпус КЗР 1517240

Аппарат режущий КЗР 1507000-21

Нож КЗР 1507010-21

Установка шнека КЗК-12-1502000А-01

Шнек КЗК-12-1502000А-01

Привод шнека КЗК-12-1502000А-01

Установка мотовила КЗК-12-1573010 (лист 1)

Установка мотовила КЗК-12-1573010 (лист 2)

Мотовило КЗК-12-1573010

Граблины КЗК-12-1573150-04, КЗК-12-1573150-05

Эксцентрик КЗК-12-1573170

Привод мотовила КЗК-12-1573010

Электрооборудование жатки для зерновых культур КЗР 1500000-24

Система гидравлическая жатки для зерновых культур КЗК-12А-1-0689000

Тележка транспортная КЗК 1590000А-04

Тележка транспортная КЗК 1590010А-04 (установка оси передней и дышла)

Тележка транспортная КЗК 1590010А-04 (установка задних колес и балки габаритной)

Колесо КЗР 1590100

Электрооборудование тележки транспортной КВК 0715900 или КВК 0715900-01