43501 (4х4)43501-4h4
Поиск деталей

43118-2300020-10 Мост передний в сборе

43118-2302010-10 Передача главная переднего моста в сборе

43114-2302015 Картер редуктора переднего моста в сборе

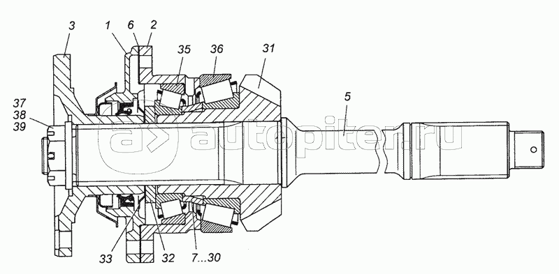
43118-2302021 Вал ведущий переднего моста в сборе

4310-2302050 Крышка стакана подшипников в сборе

43114-2302076 Крышка подшипника в сборе

53228-2303010-10 Дифференциал переднего моста в сборе

4310-2304012 Опора шаровая поворотного кулака в сборе (сварка)

4310-2304029 Корпус поворотного кулака левый в сборе

4310-2304128 Кольцо упорное кулака шарнира полуоси

6350-2320020-10 Мост передний второй в сборе

6350-2322010-10 Передача главная переднего второго моста

6350-2322021 Вал ведущий переднего второго моста

6350-2323010-10 Дифференциал переднего второго моста