EuroDiamant 8eurodiamant-8
Поиск деталей
Например: EuroDiamant8
EuroDiamant8

EuroDiamant8

Top link pin with chain KAT2G D25,4/31,7x158

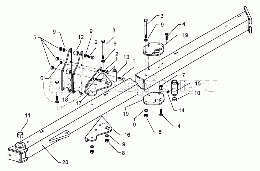
Headstock D90/D50x200 ED8

Lower link connection ED55L2 Z2

Lower link connection ED55 L2 Z3

Lower link connection ED55 L3 Z2

Lower link connection ED55 L3 Z3

Turnover mechanism D50x200 ED8

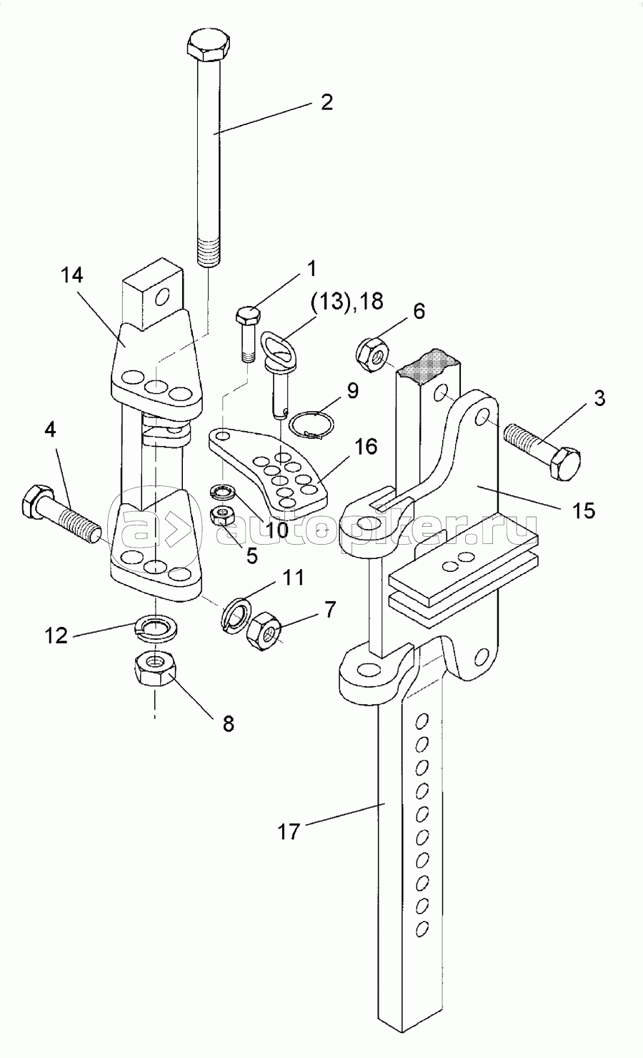
Turnbuckle TR30x3/730/520 MVS

Tool set Vari-Diamant/Diamant S

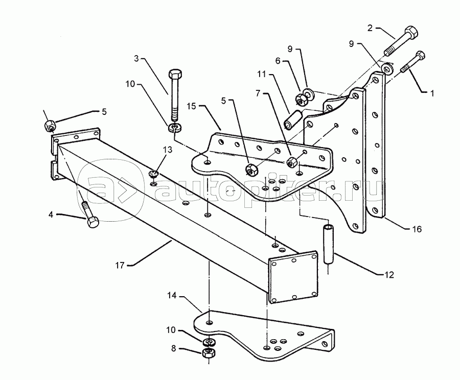
Stabilizer 5-100 ED8 1870mm

Stabilizer 6-100 ED8 2870mm

Basic frame ED8-5-100

Basic frame ED8-6-100

Frame extension E8-140-1000

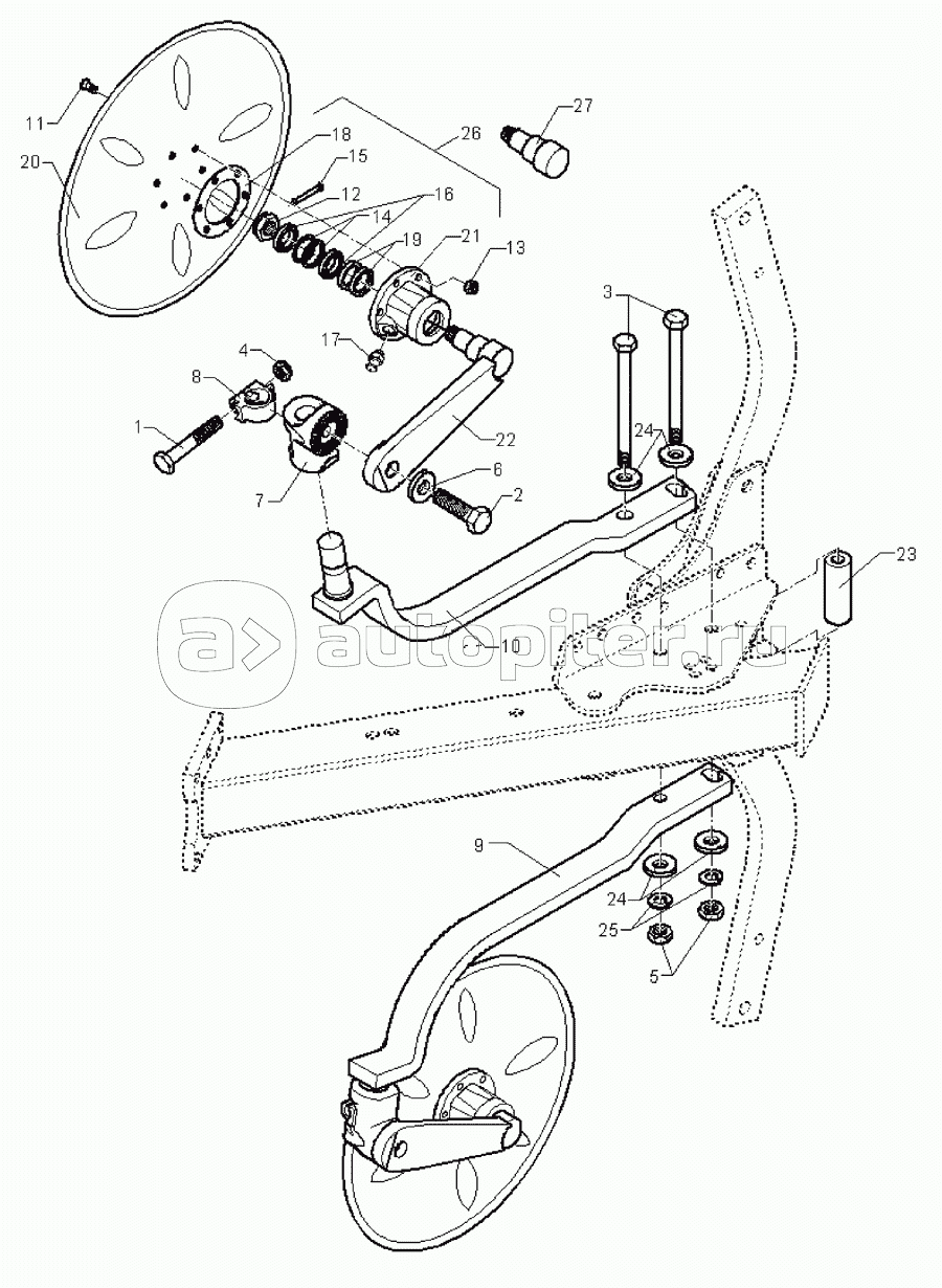
Bearing D35x622 6/205 MONROC

Wheel 6/161/205 D18 38x20,00x16,1 STG 8PR LO

Wheel 6/161/205 D18 400-15.5 T404 -14PR RE

Depth wheel ED8 400-15.5

Depth wheel ED8 38x20.00x16.1

Disc coulter E8 D500 G

Disc coulter E8 D500 Z

Disc coulter E8 D500-M G

Disc coulter E8 D500-M Z

Disc coulter E8 D590-M Z

Extension cable 7-polig 5m

Lighting equipment Pflug

Carrier for light LH2A-AD

Lighting equipment BLA-1 PF/UNI 33,7x1580

Lighting equipment with boards HR+HL7m

Bolts for leg Dural

Leg 80x30/E

Skim stalk S 50x30-260 H750

Skim stalk S1 50x30-260 H800

Skim stalk EV-260/179 50x30 H750

Skim stalk EV-260/179 50x30 H800

Skim stalk EV-V 260/179 50x30 H800-900

Skim stalk S1-V 50x30-260 H800-900

Attachment arm E1V

Attachment arm E2V

Bracket ED8 D20/65x150

Adapter-inner thread K700

HY-assembly attachment arm PA-EuroDiamant

HY-front furrow adjustment HY ED8 5-100

HY-front furrow adjustment HY ED8 6-100

HY-assembly turnover device ET78/97-500 ED8

HY-assembly depth wheel EZ70x200 ED8 5-100

HY-assembly depth wheel EZ70x200 ED8 6-100