To content
Помощь по сайту
Новости
zapros.by@autopiter.com
Контакты
Все категории
Каталоги запчастей
Минск
Вход
Корзина
Все категории
Каталоги запчастей
Фильтры Hebel Kraft
Оригинальные каталоги по VIN
Каталог мировых брендов
Запчасти ВАЗ, ГАЗ, КАМАЗ
Запчасти для ТО
Запчасти на ВАЗ, ГАЗ, Камаз и т.д.
Lemken
EurOpal 7X
EurOpal 7X
europal-7x
Поиск деталей
Например:
EurOpal 7X
EurOpal 7X
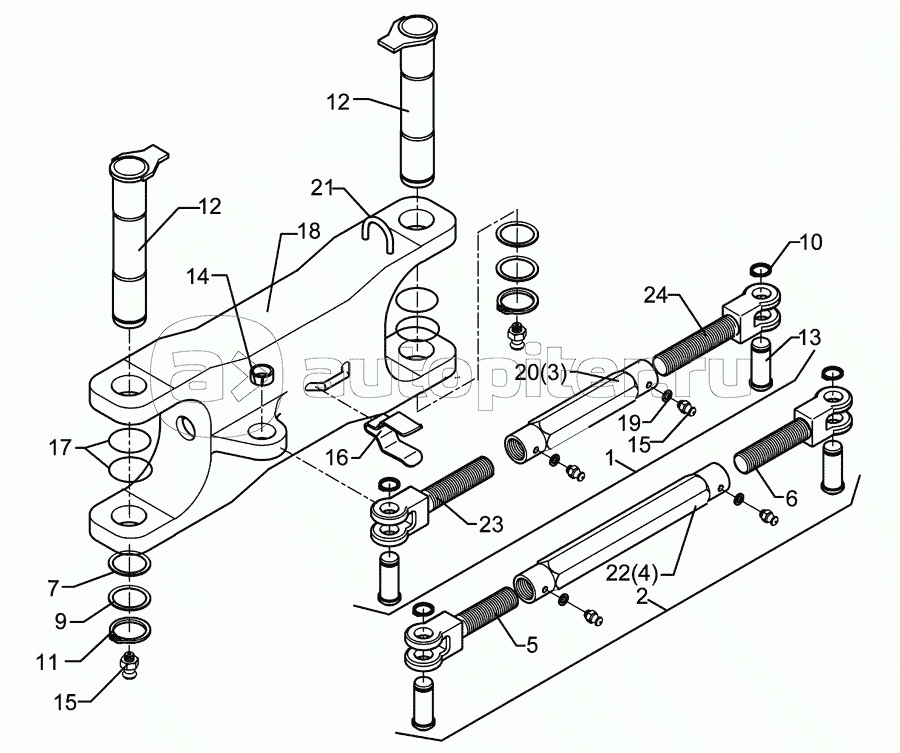
Lower link connection
Basic frame
Wheel
Carrier for light
Trip disc
Disc
Attachment arm
HY-front furrow adjuster
HY-turnover
HY-turnover
Trip device Rolle
Hydraulic assembly
EurOpal 7X
Top link pin with chain KAT2G D25,4/31,7x158
Top link pin with chai KAT3G D31,7/25,4x158
Tool set EurOpal 6/7
Turnover mechanism E100
Locking device D25x260
Adjustment centre V-50/600 HY
Adjustment centre V-50/600
Stand R750-800
Stand R750-800 HY