Kristall 9/500KAkristall-9-500ka
Поиск деталей
Например: Contents
ContentsBasic frameHeadstockLower link connectionFrameTineWheelBrakingHydraulic ramHydraulicCableLightingHolder plateExtensionMarker

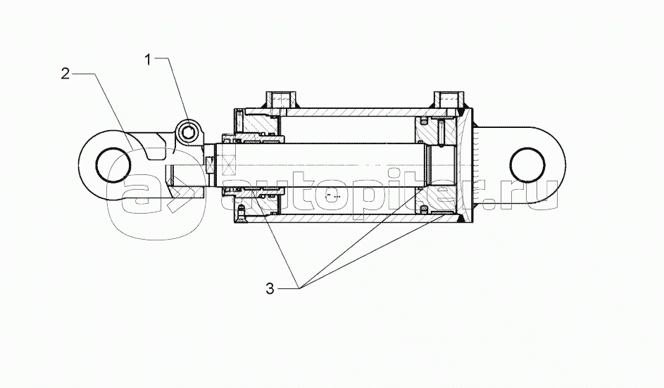
5752262 Hydraulic ram

5752269 Hydraulic ram

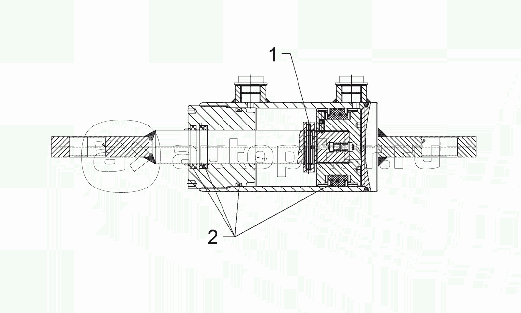
5752312 Plunger-ram

5752318 Hydraulic ram

5752323 Hydraulic ram

5752336 Hydraulic ram

5752356 Hydraulic ram

5752550 Hydraulic ram

5756601 Adapter

57510076 Assembly group

57510105 Directional valve

57510576 Flow devider

57510582 Hydraulic ram

57510584 Hydraulic ram