To content
Помощь по сайту
Новости
zapros.by@autopiter.com
Контакты
Все категории
Каталоги запчастей
Минск
Вход
Корзина
Все категории
Каталоги запчастей
Фильтры Hebel Kraft
Оригинальные каталоги по VIN
Каталог мировых брендов
Запчасти ВАЗ, ГАЗ, КАМАЗ
Запчасти для ТО
Запчасти на ВАЗ, ГАЗ, Камаз и т.д.
МоАЗ
75051
75051
75051
Поиск деталей
Например:
Схема деления автомобиля-самосвала МоАЗ-75051 на составные части
Схема деления автомобиля-самосвала МоАЗ-75051 на составные части
Двигатель и его системы
Передача гидромеханическая
Трансмиссия механическая
Рама
Подвеска
Колеса и шина
Управление рулевое
Система тормозная
Электрооборудование
Кабина и оперение
Кузов
Гидросистема устройства опрокидования кузова
Подшипники
Схема установки рулевого управления
Руль гидравлический с арматурой
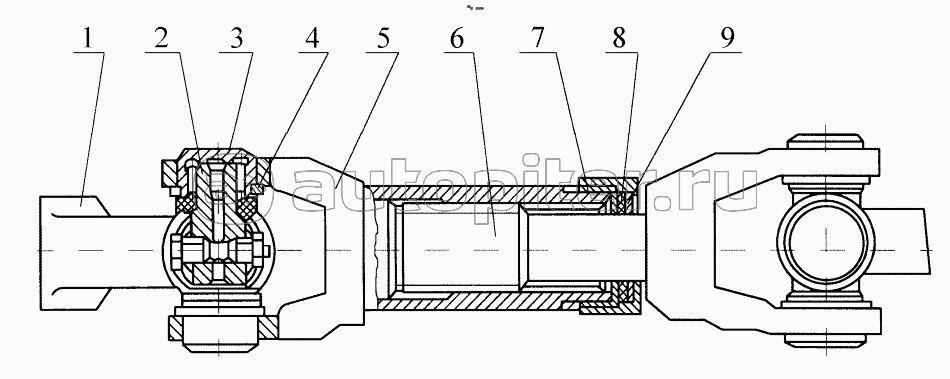
Вал карданный
Гидроцилиндр с арматурой
Клапан предохранительный
Клапан приоритетный с арматурой
Фильтр
Электродвигатель с насосом
Тяга рулевой трапеции