2122.3/2122.42122-3-2122-4
Поиск деталей
Например: Трансмиссия
ТрансмиссияМеханизмы дизеляСистема питанияСистема выпуска газаСистема охлажденияСцеплениеКоробка передачПривод переднего ведущего мостаПривод карданныйПередний ведущий мостЗадний мостУстройство прицепноеПередняя осьКолеса и ступицыУправление рулевоеТормозаЭлектрооборудованиеПриборыИнструмент и принадлежностиОтбор мощностиГидросистемаСтеклоочистителиКабинаСиденьеСистема кондиционированияПринадлежности кабиныОперениеСистема управления

Установка фар дорожных

Установка фонарей передних для тракторов Беларус-2122.3

Установка фонарей передних для тракторов Беларус-2122.4

Электрооборудование двигателя для Беларус-2122.4

Электрооборудование двигателя для Беларус-2122.3

Электрооборудование трансмиссии

Электрооборудование кабины Беларус-2122.3

Электрооборудование кабины Беларус-2122.4

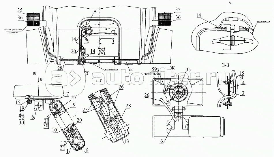
Установка фонарей задних

Установка батарей аккумуляторных Беларус-2122.3

Установка батарей аккумуляторных Беларус-2122.4

Электрооборудование отопителя Беларус-2122.3

Электрооборудование отопителя Беларус-2122.4

Установка фар рабочих Беларус-2122.4

Установка фар рабочих Беларус-2122.3

Установка стартера на трактор Беларус-2122.3

Блок коммутации на трактор Беларус-2122.4