БЕЛАРУС 1025.7belarus-1025-7
Поиск деталей
Например: Трансмиссия 1220.7-0002000
ТрансмиссияМеханизмы дизеляСистема питанияСистема выпуска газаСистема охлажденияСцеплениеКоробка передачПривод переднего ведущего мостаПривод карданныйПередний ведущий мостЗадний мостУстройство прицепноеПолурамаТяга рулеваяКолеса и ступицыУправление рулевоеТормозаЭлектрооборудованиеЩиток приборовОтбор мощностиГидросистемаСтеклоомывателиКабина трактораСистема кондиционированияПринадлежности кабиныОперениеСистема управления

Коробка передач (16F+8R) 112-1700010-А-12

Вал первичный (16F+8R)

Вал вторичный (16F+8R)

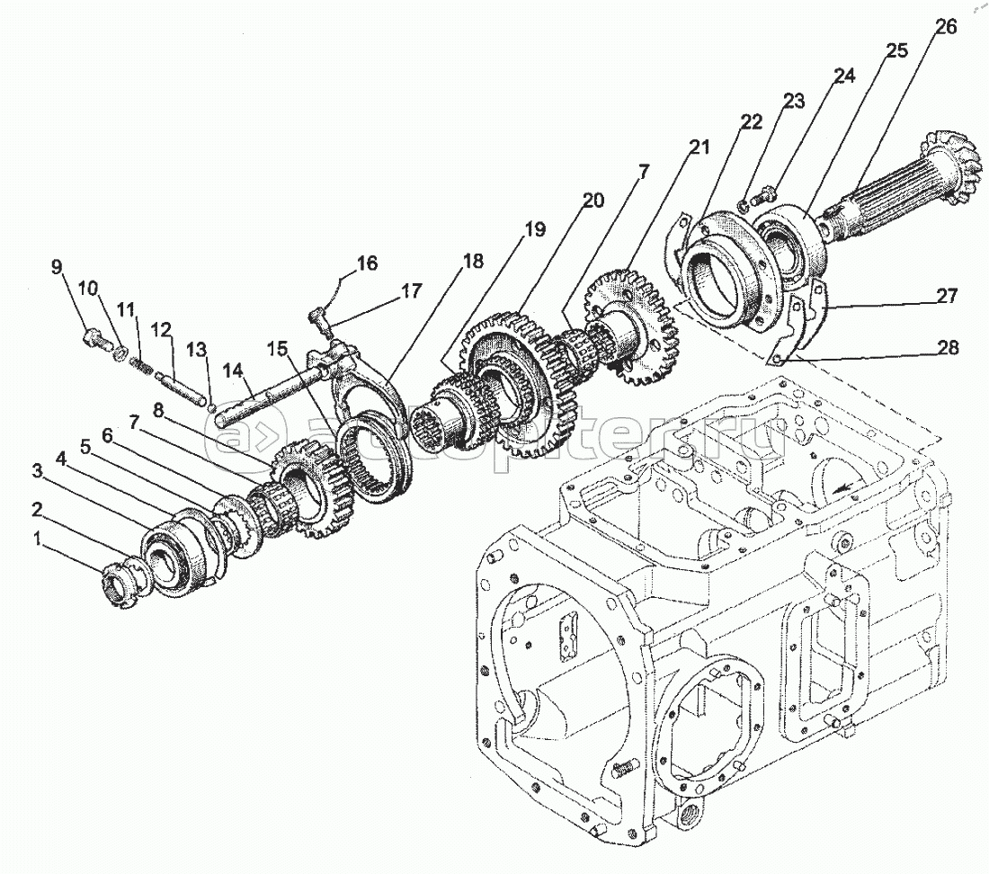
Вал промежуточный (16F+8R) 1221М-1701190-Б

Вал пониженных передач (16F+8R) 75-1701320

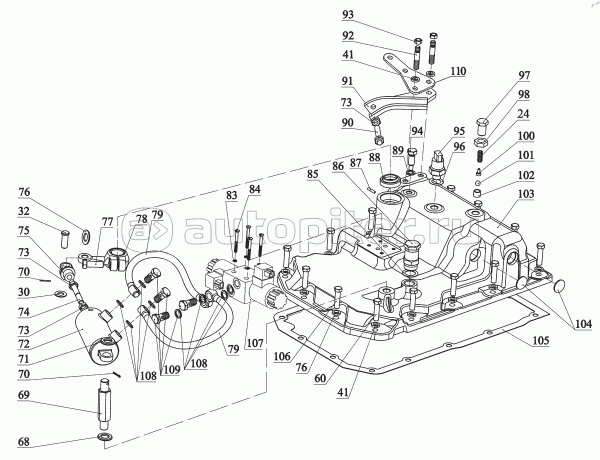
Механизм управления коробкой передач (16F+8R) 80-1702010-02/-05

Коробка передач (24F+12R) 1222-1700010-06

Коробка передач. Вал первичный (24F+12R)

Коробка передач. Вал промежуточный (24F+12R)

Коробка передач. Вал пониженных передач и заднего хода (24F+12R)

Коробка передач. Вал блока шестерен (24F+12R)

Коробка передач. Вал вторичный (24F+12R)

Механизм управления (24F+12R) 1222-1702010-А

Механизм управления (24F+12R) 1222-1702010-А

Механизм управления (24F+12R) 1222-1702010-А

Механизм управления (24F+12R) 1222-1702010-А

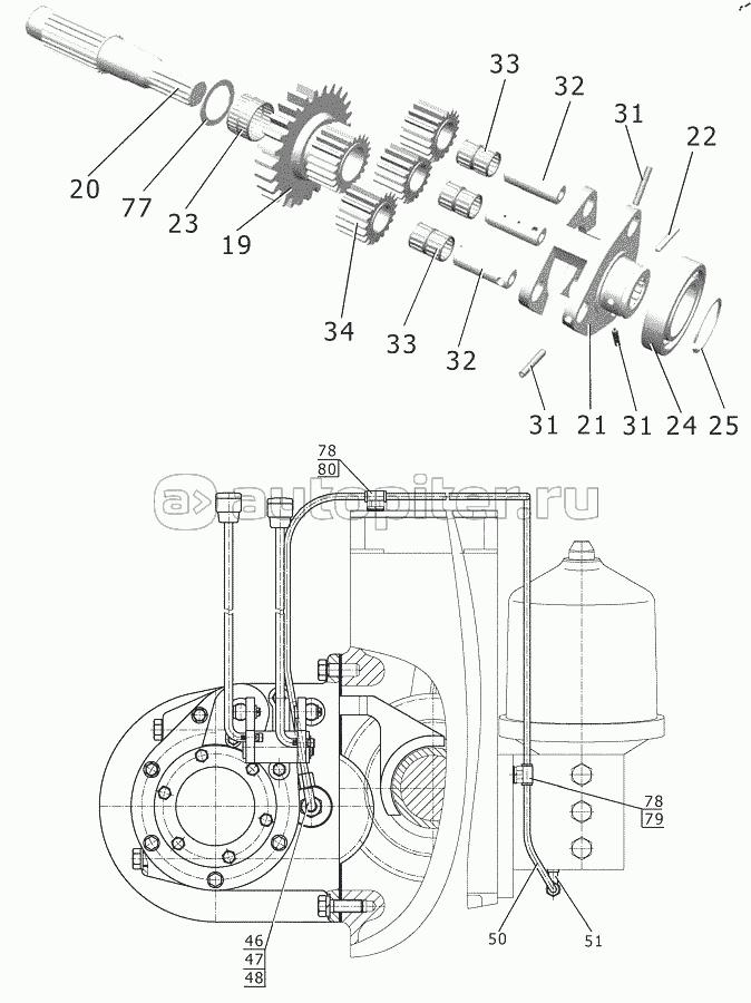
Привод насосов 1222-1704010

Установка ходоуменьшителя 1025-1706000-В

Установка ходоуменьшителя 1025-1706000-В

Фильтр 80-1716010

Фильтр-распределитель 2025-1737110