ПС-5Бps-5b
Поиск деталей
Например: Протравливатель ПС-5Б ИЯПБ.16.00.00.000
Протравливатель ПС-5Б

Протравливатель ПС-5Б ИЯПБ.16.00.00.000

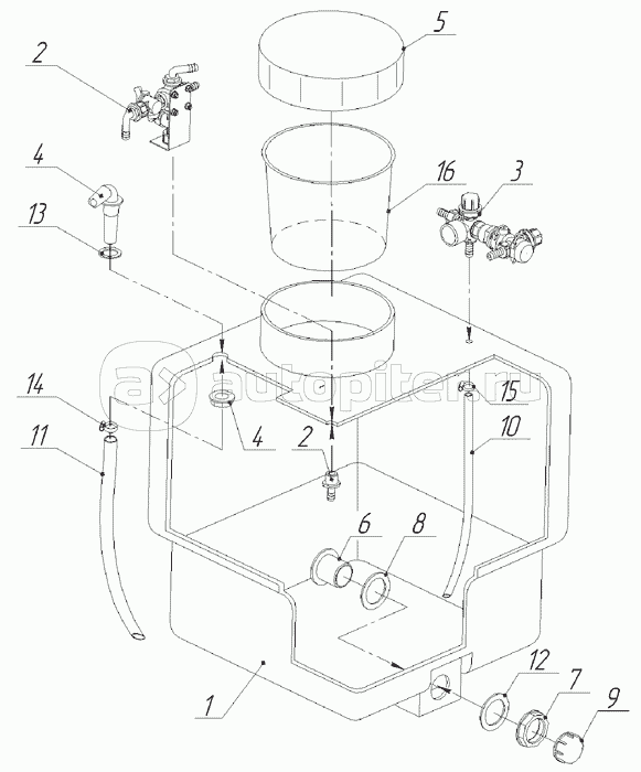
Бак в сборе ИЯПБ.15.30.00.000

Узел распределения жидкости ИЯПБ.15.30.02.000

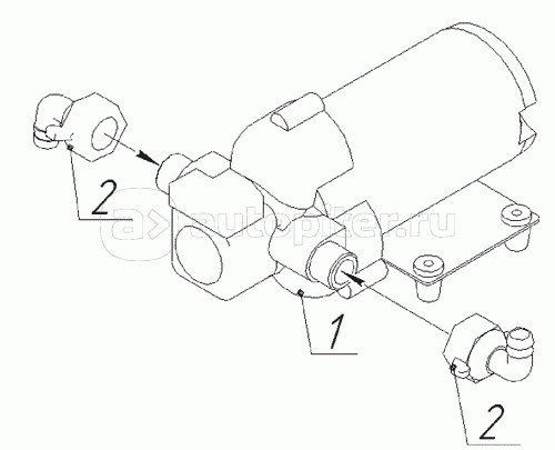
Система дозирования ИЯПБ.15.30.03.000

Система фильтрации ИЯПБ.15.07.00.000

Бачок в сборе ИЯПБ.15.00.04.000

Насос в сборе ИЯПБ.14.00.06.000

Комплект рукавов ИЯПБ.14.00.15.000

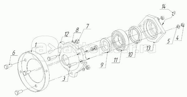
Шнек ИЯПБ.14.20.00.000

Шнек нижний ИЯПБ.16.20.10.000

Шнек верхний ИЯПБ.16.20.20.000

Привод в сборе ИЯПБ.15.23.00.000

Форсунка с приводом ИЯПБ.15.25.00.000

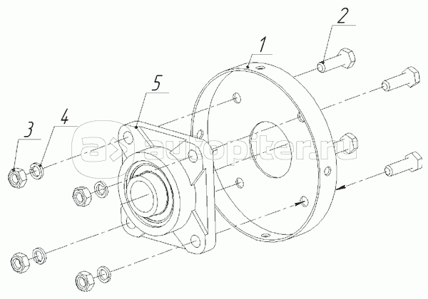
Опора подшипника нижняя ИЯПБ.14.85.30.000

Опора подшипника верхняя ИЯПБ.15.26.00.000

Колесо правое в сборе ИЯПБ.14.40.00.000

Колесо левое в сборе ИЯПБ.14.41.00.000

Опора поворотная ИЯПБ.15.50.00.000

Пульт управления ИЯПБ.14.35.00.000