Тележка для перевозки жатки РСМ-142.29telezhka-dlya-perevozki-zhatki-rsm-142-29
Поиск деталей
Тележка для перевозки жатки (РСМ-142.29)Доработка (142.29.81.000Ф)Рама (142.29.01.000Ф)Электрооборудование (142.29.10.000ФБлок колес (142.29.03.000Ф)Опора (142.29.02.000Ф)

Доработка (142.29.81.000Ф)

Опора (142.29.12.000), Иллюстрация действительна для техники, произведенной с 20100630 по 20110227

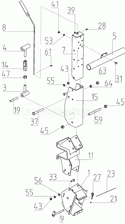
Опора (142.29.12.000), Иллюстрация действительна для техники, произведенной с 20110113

Опора (142.29.14.000), Иллюстрация действительна для техники, произведенной с 20131003

Шкворень (142.29.14.140), Иллюстрация действительна для техники, произведенной с 20131003

Шкворень (142.29.14.140-01), Иллюстрация действительна для техники, произведенной с 20131003

Шкворень (142.29.14.140-02), Иллюстрация действительна для техники, произведенной с 20131003