Vector-450 (Часть 2)vector-450-chast-2
Поиск деталей
Например: Очистка 102.11.00.000Ф с 20120523
ОчисткаИзмельчитель-разбрасывательБлок молотильныйОтделкаРемни и цепиКаркасБункерУстройства транспортирующиеКапотыЯщикиДополнительное оборудованиеДоработка

Ящики 102.70.00.000Ф с 20120401

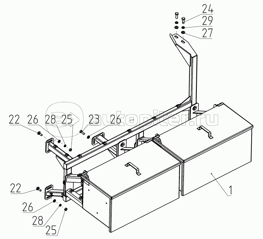
Ящик аккумуляторный 102.70.01.000Ф с 20120401

Установка ящика аккумуляторного 102.01.11.000 с 20120501

Ящик аккумуляторный 102.01.11.010 с 20120501

Ящик инструментальный 102.70.02.000Ф с 20120401

Установка инструментального ящика 102.01.12.100 с 20120501

Ящик инструментальный 102.01.12.110 с 20120501

Крышка 181.70.02.100 с 20080218

Упор 102.01.12.300 с 20120501

Установка инструментального ящика 102.01.12.100 с 20120501

Ящик инструментальный 102.01.12.110 с 20120501