LG938Llg938l
Поиск деталей
Например: DIESEL ENGINE ASSY
DIESEL ENGINE ASSYTRANSMISSION SYSTEMAXLE SYSTEMHYDRAULIC SYSTEMSTEERING SYSTEMBRAKE SYSTEMFRAMECABELECTRIC SYSTEM

DIESEL ENGINE ASSY

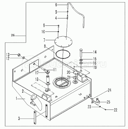
FUEL TANK ASSEMBLY

RADIATOR ASSEMBLY

GOVERNOR CONTROL SYSTEM

AGENCY,APPROVAL AP 9365-01ZZ

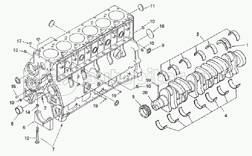
BLOCK, ENGINE bp 9072zz

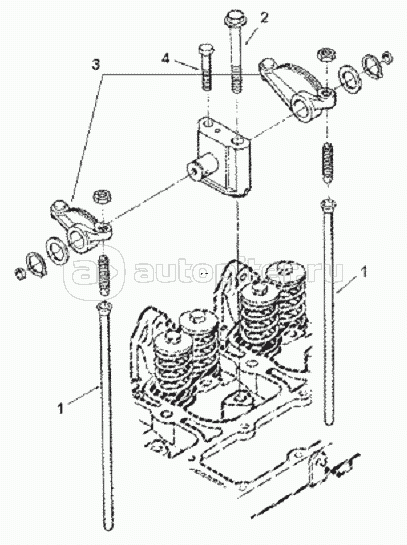
LEVER ROCKER BP9710ZZ

FOLLOWER, CAM BP 9711ZZ

COVER, FRONT GEAR BP 9807-01ZZ

PLUMBING,CPR COOLANT CC9023-03ZZ

COVER, CAM FOLLOWER CM 9016ZZ

COMPRESSOR,AIR CP 9002-03ZZ

CONNECTION CP9002-1ZZ

DAMPER,VIBRATION DA 9208ZZ

ACCESSORIES,ELECTRICAL EA 9099ZZ

THERMOSTAT EC 9052ZZ

ALTERNATOR EE 9314ZZ

MOUNTING,ALTERNATOR EH97541ZZ

DRIVE,ALTERNATOR EH97543ZZ

SENSOR, COO TEMPERATURE EO 9141ZZ

ED9071 DOCUMENTATIO,ENG IDT

DRIVE, FAN FA 9516ZZ

DRIVE, FAN FA 9702ZZ

PLUMBING,AIR FUEL CONTRO FE 9701-03ZZ

FILTER,FUEL FF 9001-01ZZ

FILTER,FUEL FF 9702-04ZZ

Housing,Flywheel FH 9020ZZ

COUPLING,FUEL PUMP FP 9764-02ZZ

PUMP,FUEL INJECTION FP L006ZZ

PUMP,LIFT FS 9004-02ZZ

PLUMBING,FUEL FT 9786-03ZZ

VALVE,FUEL SHUTOFF FV 9420ZZ

Flywheel FW 9016ZZ

BRACKET,LIFTING LA 9007ZZ

Cooler,Engine oil LC 9020ZZ

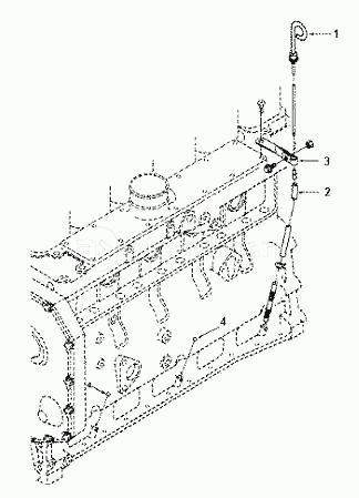
GAUGE,OIL LEVEL LG90235ZZ

PUMP,LUBRICATING OIL LP 9064ZZ

COVER,CYLINDER BLOCK OB 9702ZZ

PAN,OIL OP 9005ZZ

MOUNTING,OIL PAN OP 9702ZZ

HEAD,CYLINDER PP 9980-01ZZ

TURBOCHARGER PP L012ZZ

PERFORMANCE PARTS PP L013ZZ

MOUNTING,STARTING SM 9712ZZ

KIT,ENGINE INSTALLATION SS 9530ZZ

KIT,ENGINE INSTALLATION SS 9643ZZ

LOCATION,TURBOCHARGER TB 9701-01ZZ

LOCATION,TURBOCHARGER TB L004ZZ

HOUSING,THERMOSTAT TH 9037ZZ

TOOL,SERVICE TO L003ZZ

PLUMBING, TURBOCHARGER TP97314ZZ

Cover,Valve VC 9023ZZ

PULLEY,ACCESSORY PA 9001

VENT,ENGINE COOLANT WH 9128ZZ

CONNECTION,WATER INLET WI 9226ZZ

CONNECTION WATER INLET WI 9701ZZ

PUMP, WATER WP 9617ZZ

PAINT SS 9471