To content
Помощь по сайту
Новости
zapros.by@autopiter.com
Контакты
Страна: Беларусь
Выберите язык
Ru — Русский
En — English
De — Deutsch
Pl — Polski
Все категории
Каталоги запчастей
Минск
Вход
Корзина
Все категории
Каталоги запчастей
Фильтры Hebel Kraft
Оригинальные каталоги по VIN
Каталог мировых брендов
Запчасти ВАЗ, ГАЗ, КАМАЗ
Запчасти для ТО
Для спецтехники
Запчасти на ВАЗ, ГАЗ, Камаз и т.д.
SDLG
LG946L
LG946L
lg946l
Поиск деталей
Например:
DIESEL ENGINE ASSEMBLY
DIESEL ENGINE SYSTEM
TORQUE CONVERTER SYSTEM
TRANSMISSION SYSTEM
TRANSMISSION CONTROL SYSTEM
AXLE SYSTEM
HYDRAULIC SYSTEM
WORKING EQUIPMENT
STEERING SYSTEM
BRAKE SYSTEM
FRAME
CAB GROUP
CONVER SYSTEM
AIR CONDITIONER SYSTEM
ELECTRIC SYSTEM
HYDRAULIC CONTROL SYSTEM
WORKING PUMP ASSEMBLY
LIFTING CYLINDER ASSEMBLY
DUMP CYLINDER ASSEMBLY
HYDRAULIC TANK ASSEMBLY
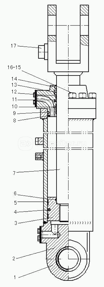
TILT CYLINDER (371401)
LIFT ARM CYLINDER (371401)
MULTIPLE UNIT VALVE DFS-32-16 (331001)