To content
Помощь по сайту
Новости
zapros.by@autopiter.com
Контакты
Страна: Беларусь
Выберите язык
Ru — Русский
En — English
De — Deutsch
Pl — Polski
Все категории
Каталоги запчастей
Минск
Вход
Корзина
Все категории
Каталоги запчастей
Фильтры Hebel Kraft
Оригинальные каталоги по VIN
Каталог мировых брендов
Запчасти ВАЗ, ГАЗ, КАМАЗ
Запчасти для ТО
Для спецтехники
Запчасти на ВАЗ, ГАЗ, Камаз и т.д.
SDLG
LG952H
LG952H
lg952h-2292
Поиск деталей
Например:
DIESEL ENGINE ASSY
DIESEL ENGINE ASSY
TRANSMISSION SYSTEM
AXLE ASSEMBLY
HYDRAULIC SYSTEM
STEERING
BRAKE SYSTEM
FRAME
CAB
ELECTRIC SYSTEM
DIESEL ENGINE ASSY
FUEL TANK ASSY
RADIATOR ASSEMBLY
GOVERNOR CONTROL SYSTEM
PARKING CONTROL SYSTEM
TORQUE CONVERTER ASSEMBLY
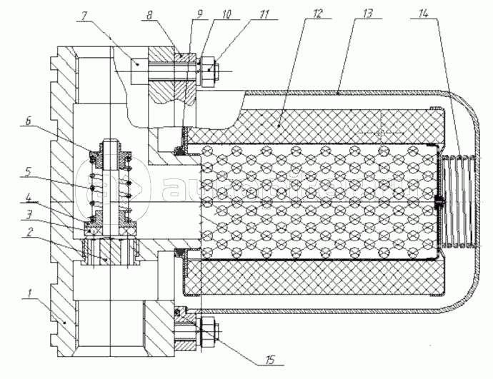
TORQUE CONVERTER YJSW315-8A (370804)
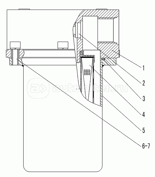
LEANER QF60M33G-1 (410708)
LEANER QF60M33G-1 (371328)