To content
Помощь по сайту
Новости
zapros.by@autopiter.com
Контакты
Все категории
Каталоги запчастей
Минск
Вход
Корзина
Все категории
Каталоги запчастей
Фильтры Hebel Kraft
Оригинальные каталоги по VIN
Каталог мировых брендов
Запчасти ВАЗ, ГАЗ, КАМАЗ
Запчасти для ТО
Запчасти на ВАЗ, ГАЗ, Камаз и т.д.
SDLG
LG953
LG953
lg953-2297
Поиск деталей
Например:
LG9530A1-2 DISESEL ENGINE SYSTEM WD615G.220 (G0375)
ENGINE SYSTEM
GOVERNOR CONTROL SYSTEM
PARKING CONTROL SYSTEM
TORQUE CONVERTER SYSTEM
TRANSMISSION SYSTEM
AXLE SYSTEM
HYDRAULIC SYSTEM
FRAME
CAB GROUP
ELECTRIC SYSTEM
WORKING EQUIPMENT
LG9530F1-4 IMPLEMENT HYDRAULIC SYSTEM
LG9530G1 FUEL TANK ASSEMBLY
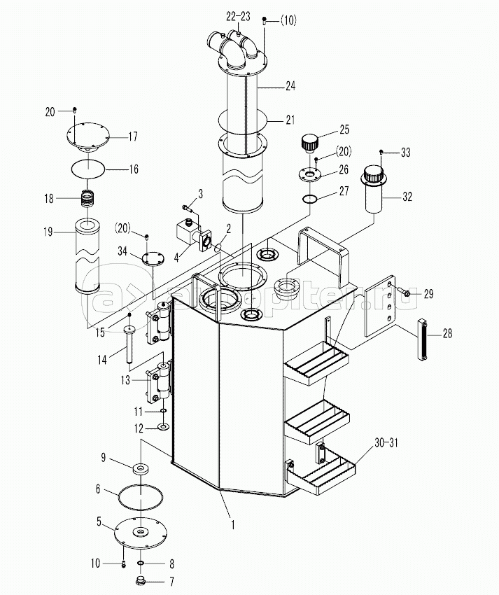
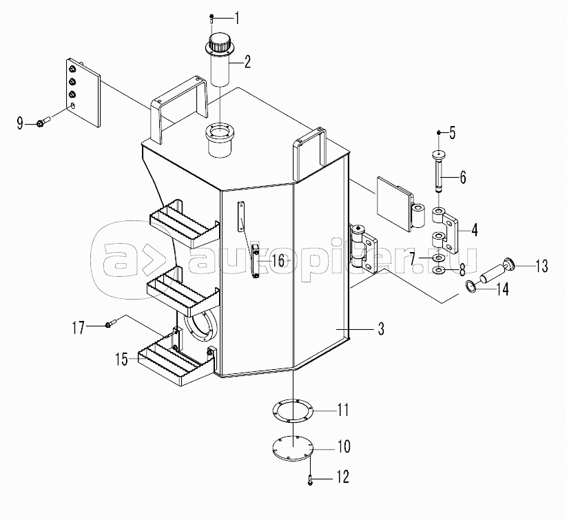
LG9530G2 HYDRAULIC TANK ASSEMBLY
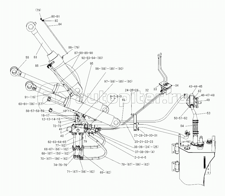
LG9530H1 WORKING EQUIPMENT
LG9530I1-4 STEERING SYSTEM
LG9530J1 SERVICE BRAKE SYSTEM
LG9530J3 AIR RESERVOIR, BRAKE CONTROL VALVE, AIR DRYER
LG9530J5 PARKING BRAKE SYSTEM