To content
Помощь по сайту
Новости
zapros.by@autopiter.com
Контакты
Все категории
Каталоги запчастей
Минск
Вход
Корзина
Все категории
Каталоги запчастей
Фильтры Hebel Kraft
Оригинальные каталоги по VIN
Каталог мировых брендов
Запчасти ВАЗ, ГАЗ, КАМАЗ
Запчасти для ТО
Запчасти на ВАЗ, ГАЗ, Камаз и т.д.
SDLG
LG953N
LG953N
lg953n
Поиск деталей
Например:
Engine asembly
Diesel engine system
Torque converter system
Transmission system
Transmission control system
Axle system
Implement hydraulic system
Working equipment
Steering system
Brake system
Frame
Cab group
Cover system
Air conditioner system
Electric system
Working equipment
Engine asembly
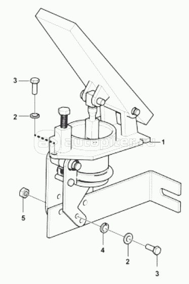
Accelerator pedal assembly
Upper cover
Fuel tank system
Cooling system
Expansion tank assembly
Cooling unit (321002)
Cooling unit (321008)
Cooling unit (320204)
Radiator assembly (370725)