To content
Помощь по сайту
Новости
zapros.by@autopiter.com
Контакты
Все категории
Каталоги запчастей
Минск
Вход
Корзина
Все категории
Каталоги запчастей
Фильтры Hebel Kraft
Оригинальные каталоги по VIN
Каталог мировых брендов
Запчасти ВАЗ, ГАЗ, КАМАЗ
Запчасти для ТО
Запчасти на ВАЗ, ГАЗ, Камаз и т.д.
SDLG
LG958N
LG958N
lg958n-2413
Поиск деталей
Например:
Engine system A1-2901004004
Diesel engine system
Transmission system
Axle system
Implement hydraulic system
Quick-change system
Working equipment
Steering system
Brake system
Frame
Cab group
Conver system
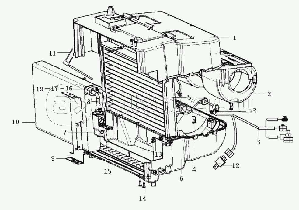
Air conditioner system
Electric system
Air condition unit N1-2935001098
Air conditioner system N3-2935001110
Evaporator assembly N4-4190002757
Evaporator assembly N5-4190002757
Condenser N6-4190002759
Condenser assembly N7-4190002759