To content
Помощь по сайту
Новости
zapros.by@autopiter.com
Контакты
Все категории
Каталоги запчастей
Минск
Вход
Корзина
Все категории
Каталоги запчастей
Фильтры Hebel Kraft
Оригинальные каталоги по VIN
Каталог мировых брендов
Запчасти ВАЗ, ГАЗ, КАМАЗ
Запчасти для ТО
Запчасти на ВАЗ, ГАЗ, Камаз и т.д.
СЗАП
СЗАП-9905
СЗАП-9905
szap-9905
Поиск деталей
Например:
Ось с колесами и тормозами
Мост задний
Устройство седельно-сцепное, тягово-сцепное опорно-погрузочное
Рама
Колеса
Тормоза
Электрооборудование
Оперение
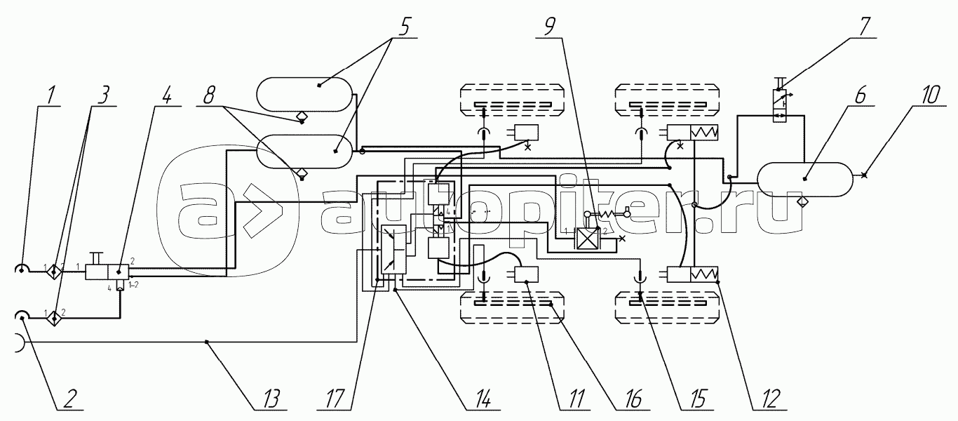
Пневмопривод тормозов с АБС