Двигатель 172ММ-2dvigatel-172mm-2
Поиск деталей
Например: Крышка головки цилиндра
Двигатель

Крышка головки цилиндра

Газораспределительный механизм

Привод распределительного механизма

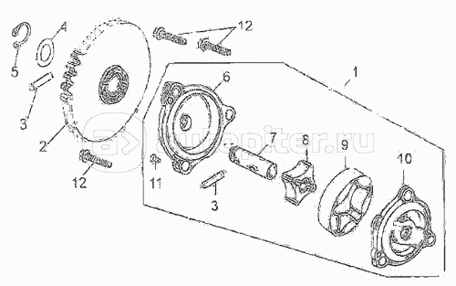
Правая крышка картера

Картер

Масляный насос в сборе

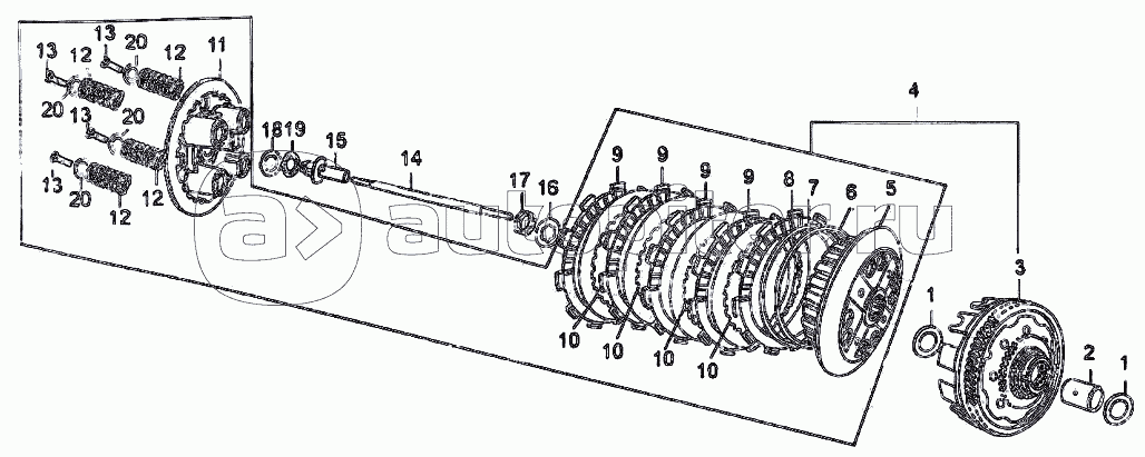
Сцепление

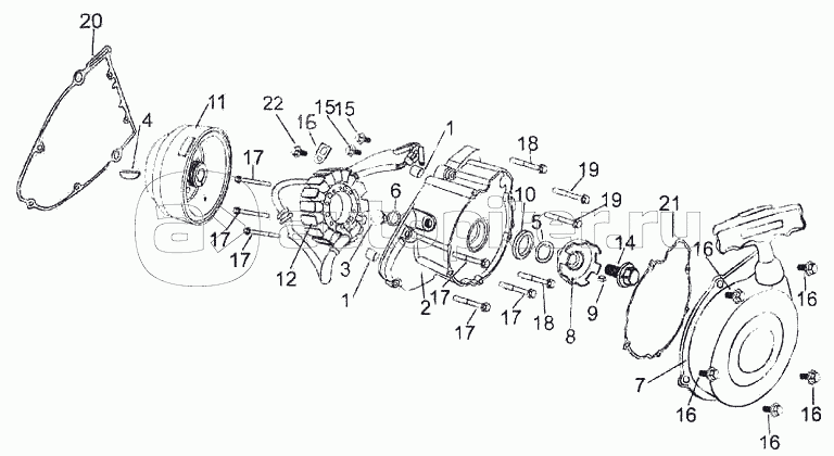
Левая крышка картера, генератор, стартер

Коленчатый вал, поршень, уравновешивающий вал

Первичный вал и промежуточный вал

Барабан переключения передач

Электростартер

Карбюратор

Электрооборудование

Редуктор реверса

Радиатор в сборе