To content
Помощь по сайту
Новости
zapros.by@autopiter.com
Контакты
Страна: Беларусь
Выберите язык
Ru — Русский
En — English
De — Deutsch
Pl — Polski
Все категории
Каталоги запчастей
Минск
Вход
Корзина
Все категории
Каталоги запчастей
Фильтры Hebel Kraft
Оригинальные каталоги по VIN
Каталог мировых брендов
Запчасти ВАЗ, ГАЗ, КАМАЗ
Запчасти для ТО
Для спецтехники
Запчасти на ВАЗ, ГАЗ, Камаз и т.д.
ЗиД
Двигатель 1P64FV
Двигатель 1P64FV
dvigatel-1p64fv
Поиск деталей
Например:
Картер в сборе
Двигатель
Картер в сборе
Маслосборник в сборе
Головка цилиндра с крышкой в сборе
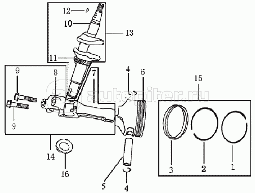
Вал коленчатый , поршень, шатун
Вал кулачковый с коромыслом
Карбюратор в сборе
Бак топливный в сборе
Воздухофильтр в сборе
Глушитель
Стартер в сборе
Регулятор числа оборотов
Маховик
Катушка зажигания
Наклейки