КЗС-2124КРkzs-2124kr
Поиск деталей
Комбайн КЗС-2124КРМолотилка самоходная КЗК-2124-0100000Камера наклоннаяОчисткаЭлеватор колосовойСоломосепараторШассиАппарат молотильныйМост ведущих колесКоробка передачМост управляемых колесУстановка двигателяДвигательБункерСоломоизмельчительПоловоразбрасывательКабинаПлощадка управленияЭлектрооборудование кабиныУстановка тормозных трубопроводовУстановка климатическаяУстановка капотов и огражденийРамаГидросистемаПневмогидроаккумуляторГидросистема низкого давленияПневмосистемаЭлектрооборудование молотилкиПанель модулей и датчики

Аппарат молотильный КЗК-16-1-0102000 (лист 1)

Аппарат молотильный КЗК-16-1-0102000 (лист 2)

Аппарат молотильный КЗК-16-1-0102000 (лист 3)

Аппарат молотильный КЗК-16-1-0102000 (лист 4)

Крышка КЗК-1420-0102040

Пружина КЗК-1420-0102100

Пружина КЗК-1420-0102110

Камнеуловитель КЗК-1420-0102230

Камнеуловитель КЗК-1420-0102260

Ролик КЗК-1420-0102320

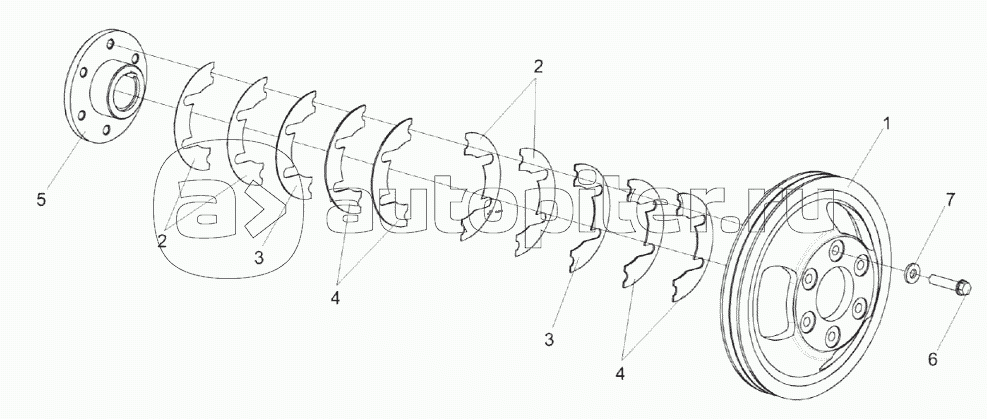
Шкив КЗК-1420-0102340

Установка датчика положения КЗК-1420-0102360

Опоры КЗК-1420-0102420 и КЗК 0102350

Рычаг КЗК-1420-0102440

Заслонка барабана КЗК-1420-0102750

Заслонка барабана КЗК-1420-0102760

Установка механизма подъема подбарабаний КЗК-1420-0115000

Электромеханизм подбарабанья КЗК-1420-0701070

Барабан ускоряющий КЗК-14-0102600

Подбарабанье переднее КЗК-14-0103100А

Подбарабанье заднее КЗК-1420-0103200

Барабан молотильный КЗК-14-0104010

Битер отбойный КЗК-1624-0105610

Привод молотильного барабана КЗК-14-0134000

Рычаг КЗК-14-0134010А

Пружина КЗК-14-0134080

Опора КЗК-1624-0134050А

Крышка КЗК-1624-0134070

Редуктор КЗК-1624-0311000

Водило КЗК-1624-0311020

Вариатор барабана КЗК 0123000

Щиток КЗ 0104060