УЭС-2-280А ПАЛЕССЕ 2U280Аues-2-280a-palesse-2u280a
Поиск деталей
Например: Установка навески (кормоуборка)
Оборудование рабочееТрансмиссияКабинаДвигательГидросистемаПневмосистемаУстановка электрооборудованияПриложение

Кабина УЭС-6-1-0200000 (общий вид)

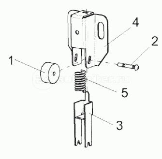
Установка клапана УЭС-7-0200100

Установка крышки УЭС-7-0200220-02 и уголка УЭС-7-0200070

Установка крыши УЭС 0201430

Установка крышки УЭС-7-0200440А и козырька УЭС 0200480

Воздуховод УЭС-7-0203060

Установка трапа УЭС-7-1000030А

Установка поручня УЭС-7-1000050

Установка форточки УЭС 0200320

Боковина УЭС 0200360 и обивка боковины

Установка установки блока испарителя УЭС-6-0151010

Установка блока испарителя УЭС-6-0151010

Крышка УЭС 0200580

Вентилятор УЭС 0200780

Установка зеркала УЭС 0200720

Дверь УЭС 0200240А

Фиксатор УЭС 0200800

Установка уплотнителей и стекол кабины

Установка стеклоочистителя УЭС 0201450 и установка плафона освещения салона

Установка стеклоочистителя УЭС 0201460

Установка воздуховода УЭС-7-0203060 и фильтра 80-8104070

Шкаф электрический УЭС 1000080-01

Установка электрооборудования кабины УЭС-6-1-0722000 (лист 1)

Установка электрооборудования кабины УЭС-6-1-0722000 (лист 2)

Установка блока выключателей УЭС 0700610

Площадка управления УЭС-6-0300000 (вид сбоку)

Площадка управления УЭС-6-0300000 (вид сверху)

Привод стояночного тормоза

Пульт управления УЭС-6-0301000

Крышки пульта управления

Привод УЭС 0300860-01 пульта управления

Привод УЭС 0300970-01 пульта управления

Привод остановки двигателя

Вентилятор УЭС 0301310

Блок радиаторов УЭС 0301430-01

Панель управления УЭС-6-0700450

Рулевая колонка УЭС-7-0300100

Редуктор УЭС 0300110

Насос-дозатор УЭС-7-0603200 и УЭС-7-0603200-01

Установка колеса рулевого КЗК-12-0122300 или УЭС 0302560

Привод УЭС-7-0300610

Тормоза

Установка сиденья

Пульт контроля УЭС-6-0300300

Щиток приборов УЭС-6-0700120

Механизм переключения передач

Кронштейн УЭС 0300230-01 с рычагом УЭС 0300880-01 механизма переключения передач

Блок переключения УЭС-7-0300290

Установка тросов управления двигателем УЭС-6-0300010