Smaragd 9/400smaragd-9-400-1583
Поиск деталей
Например: Smaragd 9/400
Smaragd 9/400Top link pinCarrierFrameLower link connectionDepth limiterTineLightingFront headstockWheelCarrierLevelling

Frame for hollow discs 2x SM9/400

Bracket for outer disc RE 80x80 SM9

Bracket for outer disc LI 80x80 SM9

Basic frame Smaragd 9/400-S

Adapter-inner thread ZPW-SM9/400 RE+LI

Tube bar roller D540-200 RE SM9

Tube bar roller D540-200 LI SM9

Tube bar roller D400-200 SM9

Nockenring roller D450-200 RE SM9

Nockenring roller D450-200 LI SM9

Packer roller ZPW D500-2,0m

Packer roller, short scraper ZPW D500-2,0m

Knife roller MSW D600-200 RE SM9

Knife roller MSW D600-200 LI SM9

Double roller D400-200 RE SM9

Double roller D400-200 LI SM9

Double roller D400-200 RE SM9

Double roller D400-200 LI SM9

Converison set D30G20 SMARAGD 9

Trip device 100x22-A SM90+9

Trip device D30G-16 SMARAGD 9

Trip device D30G-20 206-Drehpunkt SM.9

Trip device 50x18 SM9

Headstock Smaragd9/300+9/400 KAT2+3

Headstock Smaragd 9/400 K700+KAT3

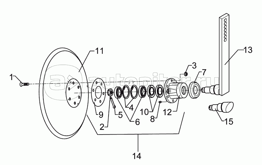
Pair of hollow discs 2xD450 Smaragd 9

Hollow disc RE D450 Smaragd 9

Hollow disc LI D450 Smaragd 9