To content
Помощь по сайту
Новости
zapros.by@autopiter.com
Контакты
Все категории
Каталоги запчастей
Минск
Вход
Корзина
Все категории
Каталоги запчастей
Фильтры Hebel Kraft
Оригинальные каталоги по VIN
Каталог мировых брендов
Запчасти ВАЗ, ГАЗ, КАМАЗ
Запчасти для ТО
Для спецтехники
Запчасти на ВАЗ, ГАЗ, Камаз и т.д.
Lemken
Smaragd 9/400
Smaragd 9/400
smaragd-9-400-1583
Поиск деталей
Например:
Smaragd 9/400
Smaragd 9/400
Top link pin
Carrier
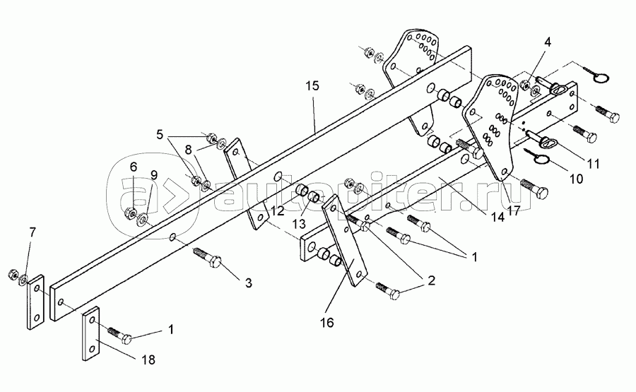
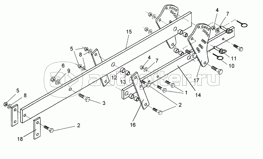
Frame
Lower link connection
Depth limiter
Tine
Lighting
Front headstock
Wheel
Carrier
Levelling
Carrier 120x20x1495-80x20 SM9
Carrier 120x20x1795-80x20 SM9 U
Carrier for double roller 120x20x1495-100x20 SM9
Carrier for double roller 120x20x1795-100x20 SM9 U