7505175051
Поиск деталей
Схема деления автомобиля-самосвала МоАЗ-75051 на составные частиДвигатель и его системыПередача гидромеханическаяТрансмиссия механическаяРамаПодвескаКолеса и шинаУправление рулевоеСистема тормознаяЭлектрооборудованиеКабина и оперениеКузовГидросистема устройства опрокидования кузоваПодшипники

Передача карданная

Установка муфты гибкой и механизма отключения (до 01.05.2003 г.)

Установка муфты и механизма отключения (с 01.05.2003 г.)

Муфта гибкая (до 01.05.2003 г.)

Муфта (с 01.05.2003 г.)

Механизм отключения трансмиссии

Мост передний

Шарнир

Водило

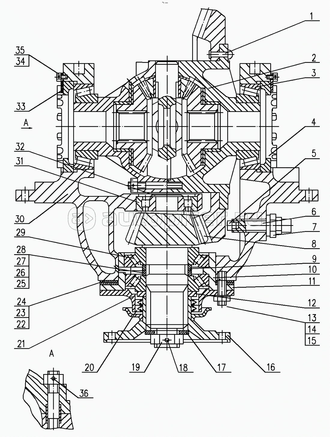
Редуктор переднего моста

Дифференциал редуктора переднего моста

Мост задний (до 01.05.2003 г.)

Мост задний (с 01.05.2003 г.)

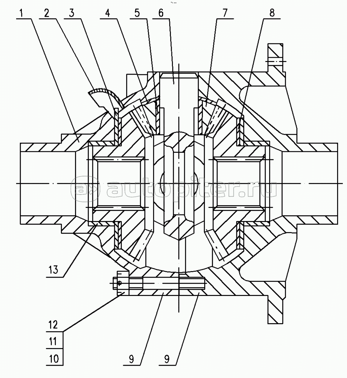
Редуктор заднего моста

Дифференциал редуктора заднего моста

Пневмопривод блокировки дифференциала заднего моста