МЗКТ-79092mzkt-79092
Поиск деталей
Например: Кабина. Подвеска кабины

Кабина. Подвеска кабины

Подвеска кабины

Механизм опрокидывания кабины, его цилиндр и насос. Привод насоса опрокидывающего механизма. Трубопроводы.

Механизм опрокидывания кабины, его цилиндр и насос. Трубопроводы

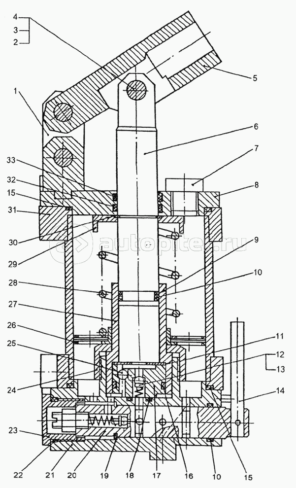
Механизм опрокидывания кабины, его цилиндр и насос

Механизм опрокидывания кабины, его цилиндр и насос

Держатели. Облицовка радиатора. Крылья задние. Подножка

Установка стеклоочистителя, зеркал, антенны